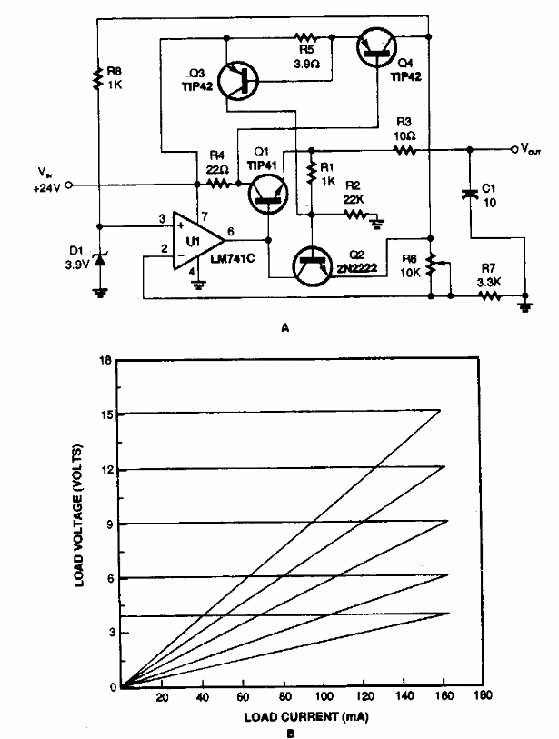
This circuit was found in a Popular Electronics from the 90's. The power transistors must be equipped with a heat sink.

This circuit was found in a Popular Electronics from the 90's. The power transistors must be equipped with a heat sink.