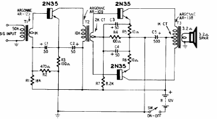
This class B push-pull amplifier circuit with a few hundred milliwatts of power was found in an American publication from the 50's. The couplings are made by transformer.

This class B push-pull amplifier circuit with a few hundred milliwatts of power was found in an American publication from the 50's. The couplings are made by transformer.
