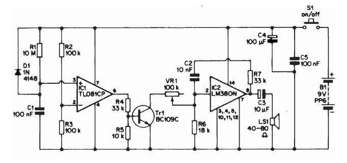
This LM380-based circuit was found in documentation from the 1980s. The components are current, and the transistor may be a general-purpose equivalent. Note the use of a medium impedance speaker.
This circuit can use a pendulum sensor. We found this configuration in a 1994 publication. The...
This circuit produces a sound effect that can range from the sound of a bird to a siren. The...
This circuit, from a former publication of 1968 was originally designed for germanium transistors, but with the...