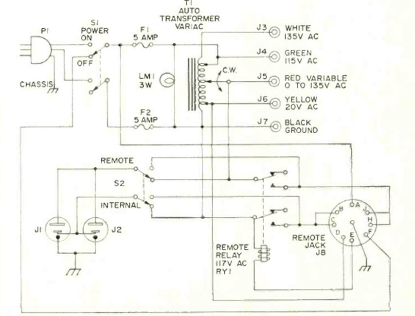
This is a very useful autotransformer circuit on the bench. We found it in the September 1970 Radio Elecronics magazine. The transformer must be according to what you want to feed at the output.
We find this battery charger in a 90's Hands-On Electronics. The charging current is 2 A and when...
The critical point in this 2005 project is the adjustment of the optical system, mainly to avoid...
This sound or voice relay was found in a Popular Electronics. It includes an amplification stage and can be...