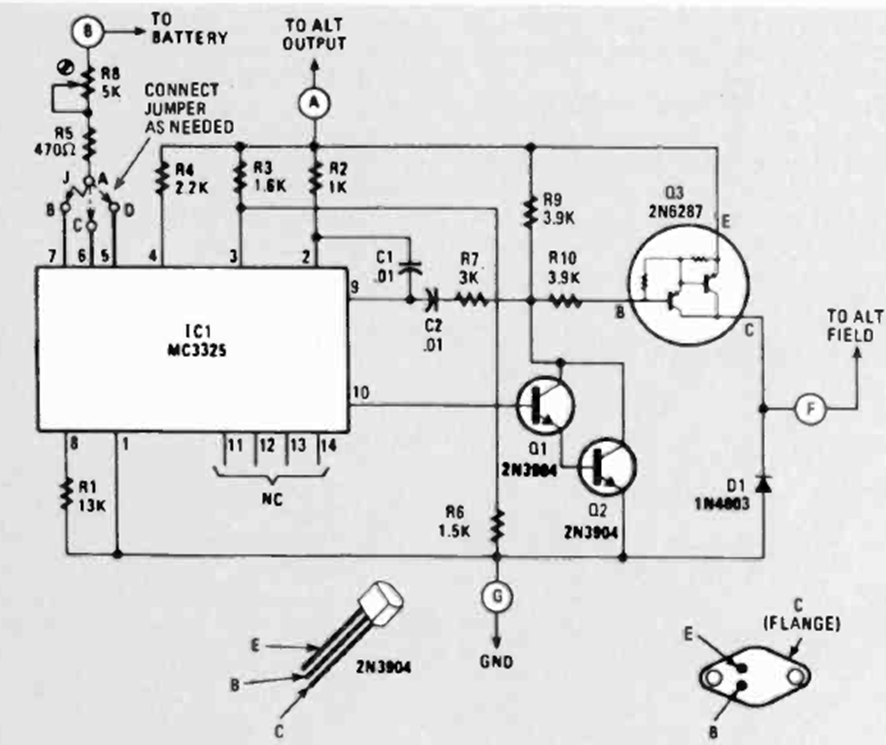
This circuit was found in the June 1980 issue of Radio Electronics magazine. The circuit uses an integrated circuit from time, and a power Darlington that must be equipped with a heat sink.
This circuit is designed to measure very weak currents, in the order of picoamperes. We found it...
This well-known configuration that appears elsewhere on the site is from an English documentation. In it,...
This circuit is from the 2005 Linear Technology Sensor Manual. The circuit is fast acting and has a 3 V...