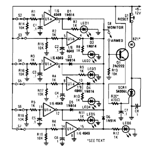
We found this circuit in the 1995 Encyclopedia of Electronic Circuits. The circuit triggers a buzzer from several sensors. The edition is from Poptronics.

We found this circuit in the 1995 Encyclopedia of Electronic Circuits. The circuit triggers a buzzer from several sensors. The edition is from Poptronics.
