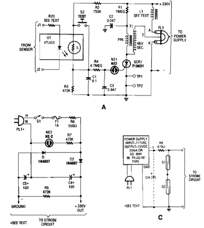
We found this circuit in volume 5 of the 1995 Encyclopedia of Electronic Circuits. It fires a high-power pulsating xenon light.
This oscillator can generate 2 to 10 MHz signals and was found in an American 1980s documentation. The...
This flasher was originally intended for Christmas tree lamps. The circuit is from 1974 and uses...
In the figure we have the way to add hysteresis to an operational amplifier. The relationship...