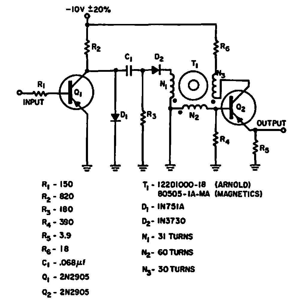
In this 1964 Electronic Design circuit, the frequency division of the signal is done according to the value of C1 or the number of turns N1 of the toroid. The circuit can be designed based on modern components.
In this 1964 Electronic Design circuit, the frequency division of the signal is done according to the value of C1 or the number of turns N1 of the toroid. The circuit can be designed based on modern components.