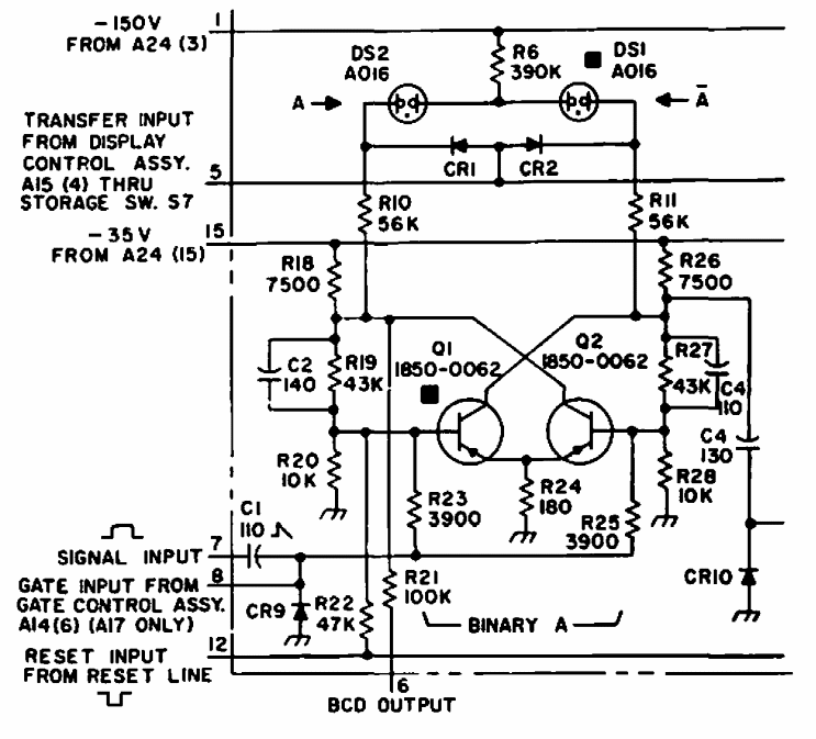
This circuit is from an old American documentation using as indicators for the flip-flops neon lamps. This way, the circuit has two supply voltages.
IDT ZSSC3230 Capacitive Sensor Signal Conditioner Available from Mouser Electronics stock, this IDT...
This circuit uses only two common transistors and provides good audio power in a speaker. Readers who...
This is the analog part of the previous circuit with the pressure sensor for the altimeter. The...