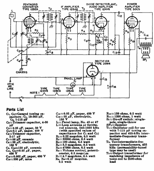
We find this traditional circuit that appears elsewhere in this section, but from other sources, in a 1975 RCA tube manual. The receiver has the filaments in series and the IF of 455kHz.

We find this traditional circuit that appears elsewhere in this section, but from other sources, in a 1975 RCA tube manual. The receiver has the filaments in series and the IF of 455kHz.
