This detector was found in an old Electronic Design using transistors of the time. The circuit can be made with modern equivalent transistors. See the charts with your performance.
We found this circuit in the SGS Linear Integrated Circuits Manual of a982. The integrated circuit...
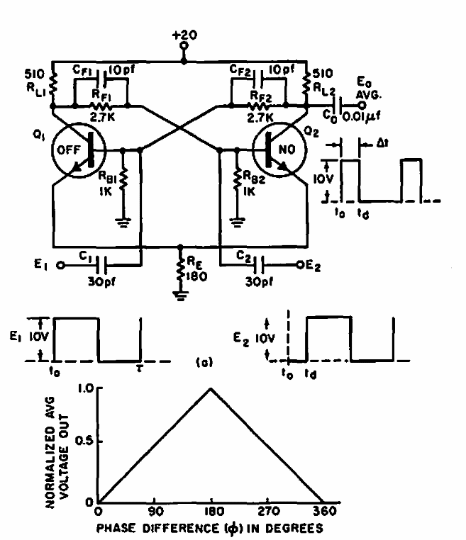
This circuit was obtained in an American documentation from the 80's. The transistors can be...
This circuit is from old American documentation intended to trigger the flash of a camera flash with...