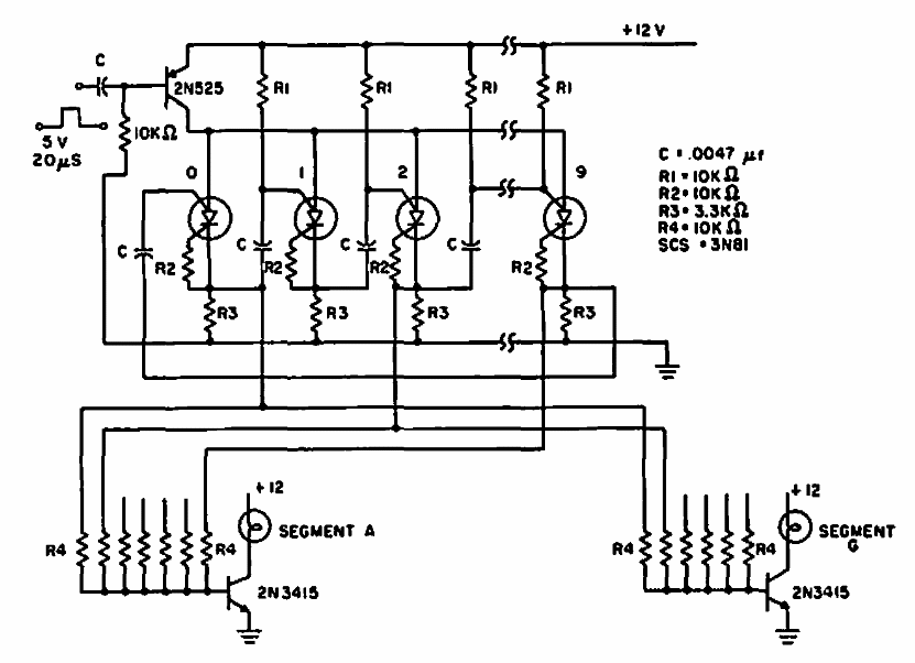
This circuit was obtained from a 1966 General Electric documentation. It can serve as a basis for demonstrations of how to decode segments of a display using discrete components.
We found this circuit in the SGS Linear Integrated Circuits Manual of a982. The integrated circuit...
This circuit was obtained in an American documentation from the 80's. The transistors can be...
This circuit is from old American documentation intended to trigger the flash of a camera flash with...