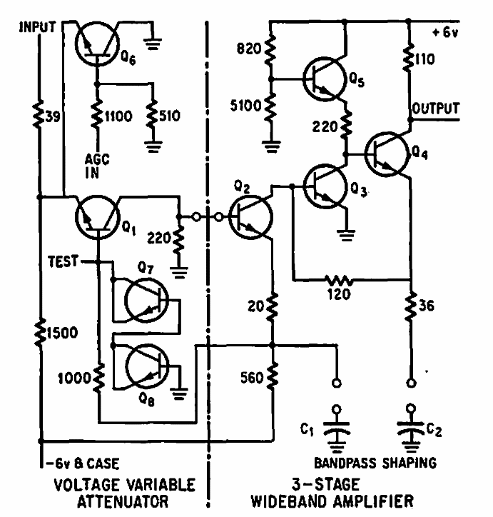
This circuit with the PA7601 was found in a 1967 Philco-Ford documentation. The circuit has a pass band from 45 to 120 MHz.
Bipolar transistors are types of general use like BC548, while the power MOSFET can be of any type...
This circuit generates a signal rich in harmonics that extends up to close to 1 GHz, serving for...
This second-order low-pass Salen-Key filter was obtained from an American 1980s documentation. Formulas...