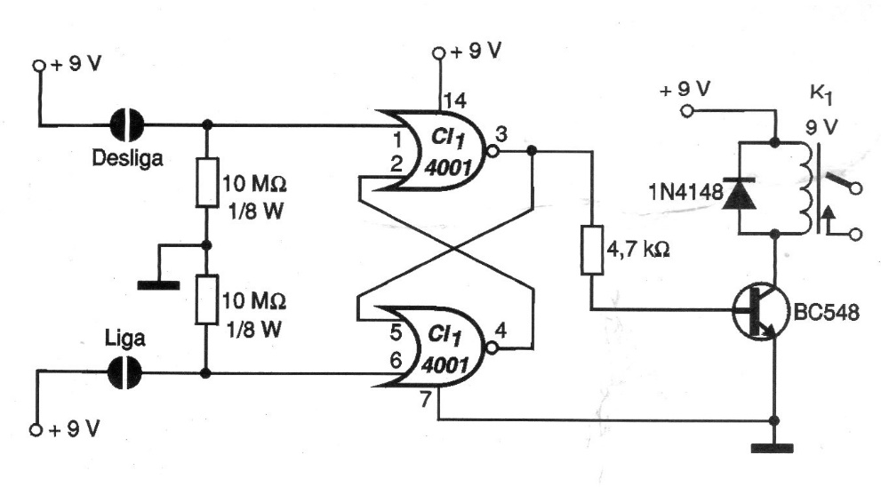
Versions of this circuit have appeared several times on this site and even in this section. This was taken from 2001 documentation. Never use a source without a transformer to power this circuit. The circuit can be supplied with voltages of 6 or 12 V if 9 V relays are not easy to obtain.




