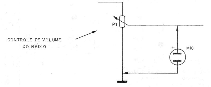
A portable radio with greater power, such as those using medium or large batteries, can be used as a megaphone. The connection of the microphone to the volume potentiometer is shown in the figure. Performance will depend on the microphone and the gain of the radio's audio circuit.




