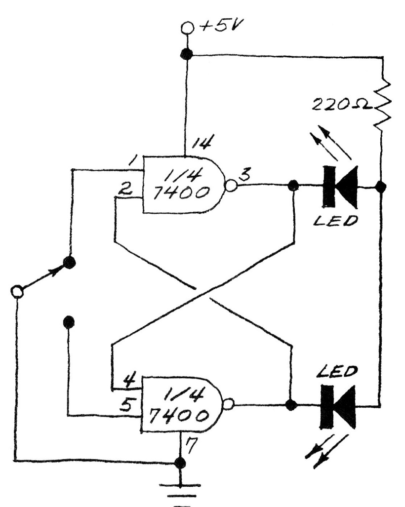
This TTL bistable or flip-flop with the 7400 was found in an 80's publication. It is a didactic version that controls an LED and must be powered with 5 V. The circuit can be adapted to work as a Shield for microcontrollers with pins 1 and 5 used as controls (set and reset).




