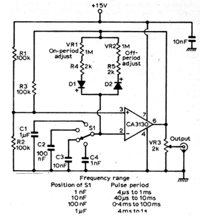
This old circuit uses an operational one from the 70s, but it is still useful in current projects. The circuit consists of an oscillator that generates rectangular signals in a wide range of audio frequencies, as indicated in the table next to the diagram.




