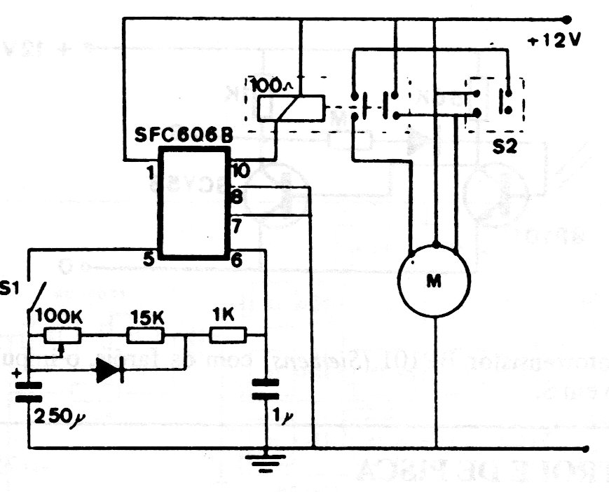
This circuit found in old documentation can be used on old cars that do not have this feature. The integrated circuit used is uncommon today.
The purpose of this circuit is to adapt a common speaker to function as a microphone. The circuit is...
This amplifier circuit for listening was found in a book by Hugo Gernsback from 1960. The...
The presented circuit uses an optocoupler to trigger a triac. We found it in a Popular Electronics from...