The two integrated circuits used in this configuration can still be found. The frequencies of the effects are determined by the capacitors, which may have their values changed.
The transmitter shown can reach around 100 meters depending on the location and sensitivity of the...
This circuit converts a positive CMOS supply voltage to a negative one. We found it in a 90s...
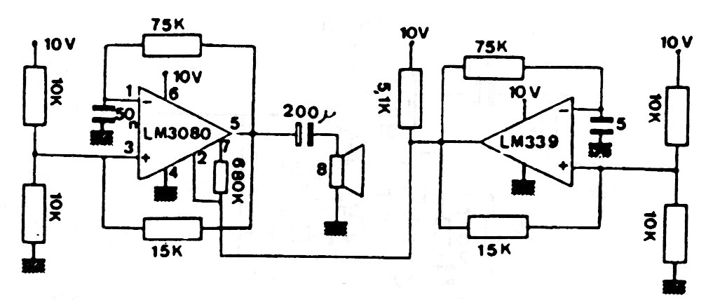
The circuit shown in figure 5 generates square signals based on a transconductance operational amplifier...