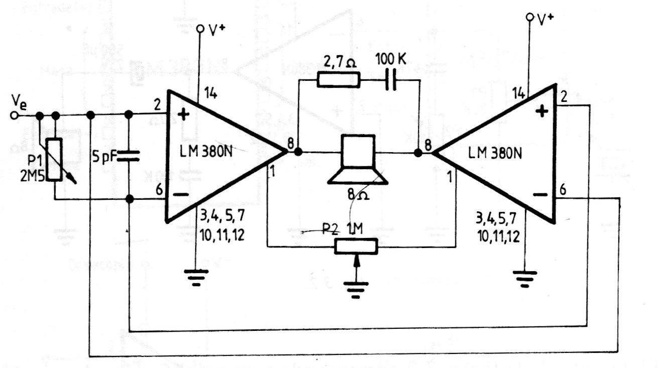
Higher power of an LM380N that has a power of 2.5 W can be obtained with a bridged configuration. The power can be between 12 and 18 W for a maximum power in the order of 10 W. The circuit is from a documentation from the 70's, so the integrated circuit is not very common today.




