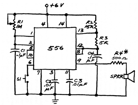
In fact, the 556 consists of a double 555, which can be replaced by these integrated ones. The circuit is from American documentation and the output load can have a lower resistance, up to 120 ohms, for a higher volume. The circuit can be powered with voltages from 5 to 12 V.




