This circuit is based on an unusual component today. It demodulates a 10.7 MHz FI signal and was found in 1980s documentation.
We found this circuit in a 1977 Timers Cookbook. The circuit uses common components to divide a 1...
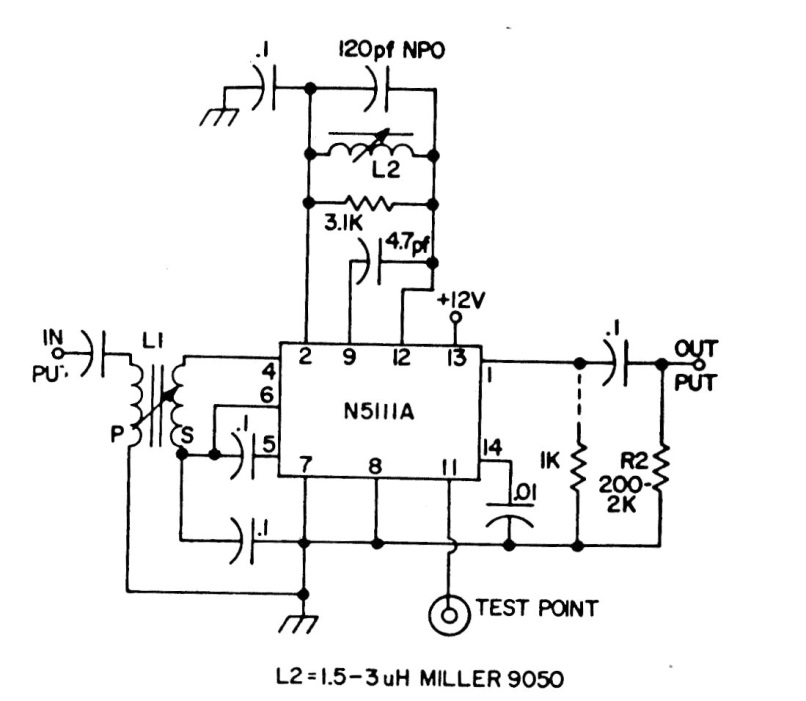
The components of this circuit are not common today, as it was obtained in the Linear Applications...
We found this circuit in 1969 American documentation. FETs admit equivalents, as do transistors. The...