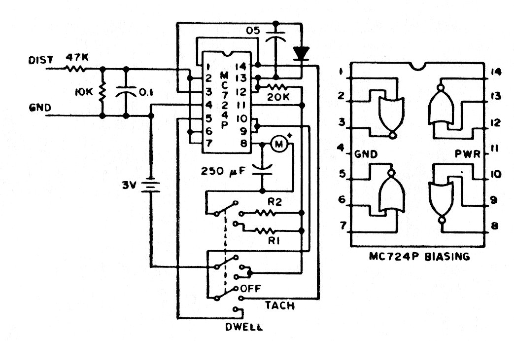
This tachometer and dwell meter for old cars was found in a 1975 documentation. The circuit is a reference for those who want to recover or maintain an old car.
Another of the many circuits of this type that we have in this section. This one was found in the...
This circuit can generate signals up to 100 kHz. Found in documentation from the 1980s, it makes...
Recommended for automotive applications, this circuit was found in an April 1982 Radio Electronics...