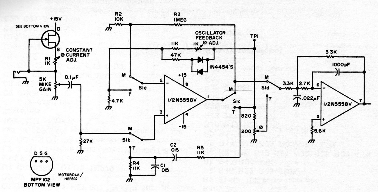
This is a combined circuit of tone generator and preamplifier. We found it in a 1975 documentation. Operational amplifiers of that time can be replaced by modern equivalents.
This circuit can be used as a time automation for driving motors in robotics and mechatronics. What we have...
The source used in this timer is of the type without transformer and regulated by the 7 W zener. The...
This trigger-delay circuit was found in a 1960s General Electric unijunction transistor manual. The...