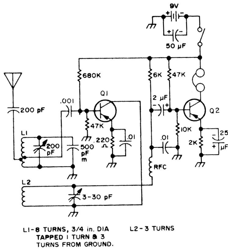
This receiver of two transistors for the 3.5 MHz band was found in a circuit manual from the 80's. The coil data are found next to the diagram and the transistors can be general purpose PNP.
The 78XX series voltage regulator integrated circuits do not support an input voltage greater than...
This is the complete circuit of a multimeter using a 50 uA instrument with a 2k coil. The circuit...
This circuit came out in a Popular Electronics from December 1995. It is a double T configuration that...