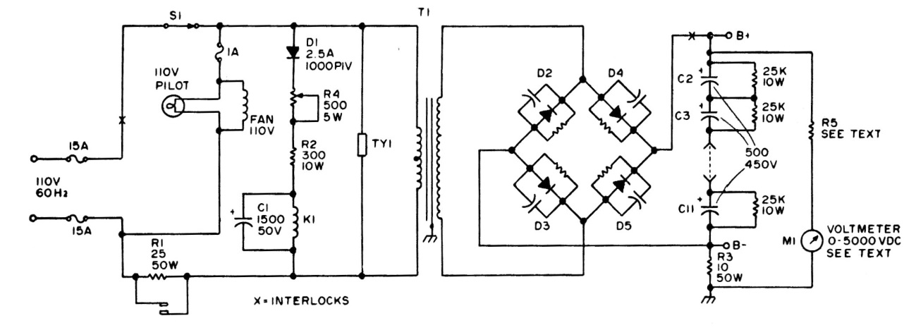
The diodes on this power supply are 2.5 V x 1000 V. The circuit provides a very high voltage for tube transmitters. The resistors in parallel with the high voltage diodes are 470 k and the capacitors are 500 uF x 450 V. The transformer has 2 200 V of secondary with a current of 500 mA.




