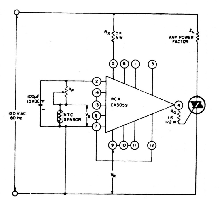
The load of this circuit depends on the triac and the integrated circuit used is uncommon today. The circuit is from 80s documentation. The triac must have a heat sink.
This is the circuit that decodes the signals from the CIR3059. The adjustment of each frequency is made in...
This circuit measures the strength of audio signals. We found it in an American publication from...
This circuit is from a 1974 Ferranti transistor manual. The circuit is analog, and the components used...