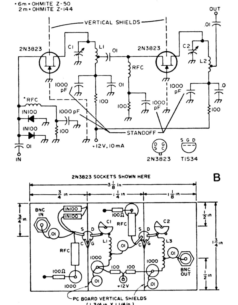
This preamplifier for the 6 or 2-meter range was obtained from an American documentation from the 1980s. FETs can be modern equivalents and no information about the coils is given.
This is the traditional configuration of a 6 or 12 V source with 7806 or 7812 integrated circuits, for a...
This fader or guitar fading circuit was found in an American documentation from the 1980s. The...
Found in documentation from the 1960s, this power supply employs germanium diodes from the time....