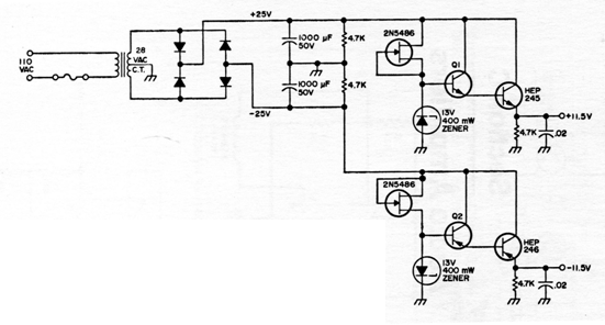
Despite being from an old documentation, this circuit is currently feasible just by using modern equivalent transistors, such as the pair TIP31 and 32 for the output and the BC548 and BC558 as exciter and for the FETs the BF245. The transformer is 1 A.




