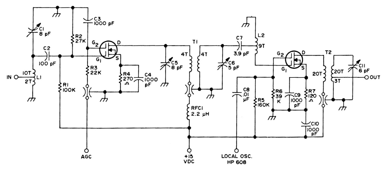
This old circuit, from the 80s, was found in American documentation. The circuit uses dual gate FETs (MOSFETs) and has no data on the coils used.
We found these circuits in a Popular Electronics from the 90s. The circuit has a simple low power...
This LED diode test is suggested by the Texas Instruments optoelectronics manual. The transformer current...
This RF monitor or field strength meter can use instruments from 100 uA to 1 mA full scale. The...