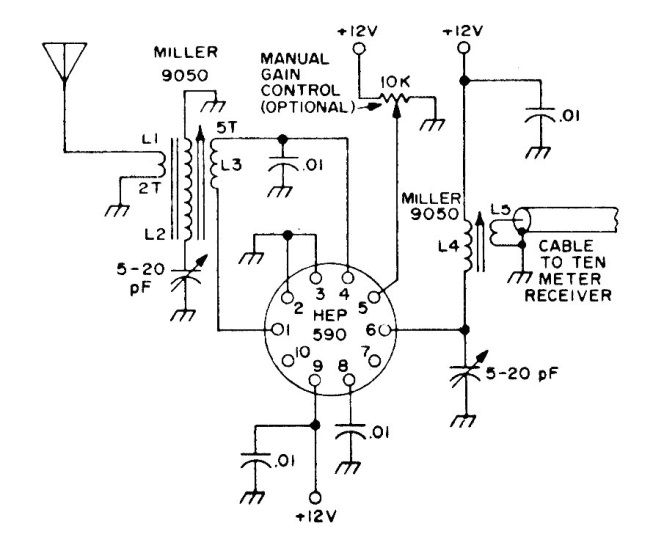
We found this preamplifier for the 10 and 11-meter range in an old documentation for radio amateurs. The integrated circuit used is uncommon today.
We found these circuits in a Popular Electronics from the 90s. The circuit has a simple low power...
This LED diode test is suggested by the Texas Instruments optoelectronics manual. The transformer current...
This RF monitor or field strength meter can use instruments from 100 uA to 1 mA full scale. The...