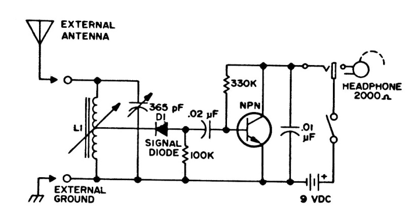
This medium wave radio works with any general purpose NPN transistor. The diode must be made of germanium and a coil formed by 50 + 50 turns of wire 26 to 30 on a ferrite rod.
We found these circuits in a Popular Electronics from the 90s. The circuit has a simple low power...
This LED diode test is suggested by the Texas Instruments optoelectronics manual. The transformer current...
This RF monitor or field strength meter can use instruments from 100 uA to 1 mA full scale. The...