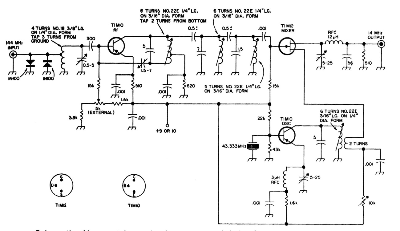
This converter for the 150 MHz band was found in an American documentation. Transistors are uncommon today and equivalents can be used.
The last LED on pin 1 acts as the pilot LED in this circuit from Radio Electronics magazine, June...
This dual-operator thermometer circuit was found in the September 1982 issue of Radio Electronics...
This experimental short-range transmitter uses a low-impedance microphone, low-impedance phone, or even...