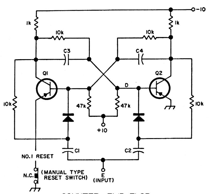
This flip-flop circuit with general purpose transistors was found in American documentation from the 1980s. The maximum operating speed depends on the transistors. Diodes are commonly used.
This circuit consists of a relaxation oscillator with a neon lamp that triggers an SCR, generating high...
We found this circuit in a 1967 RCA SCR manual. The circuit uses components from the era. The...
This circuit is an alternative version of the previous one also found in the July 1995 Electronics Now...