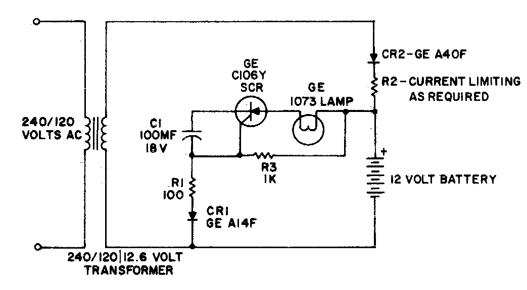
This circuit appears elsewhere in this section, obtained from other documentation. The circuit is for lead-acid batteries and the lamp can be replaced by high brightness LEDs.
This circuit can be used as a time automation for driving motors in robotics and mechatronics. What we have...
The source used in this timer is of the type without transformer and regulated by the 7 W zener. The...
This trigger-delay circuit was found in a 1960s General Electric unijunction transistor manual. The...