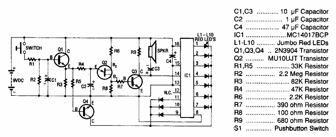
This electronic roulette circuit with 10 numbers was found in a Popular Electronics from the 80s. The circuit uses indicator LEDs and the transistors are general purpose.
This circuit consists of a Step-Down converter (voltage reducer) that can provide a 5 A output with...
The figure shows how to implement an amplifier with gain 10 using the operational amplifier LM41....
This circuit was found in the comparator's own documentation, serving others in the same series. The...