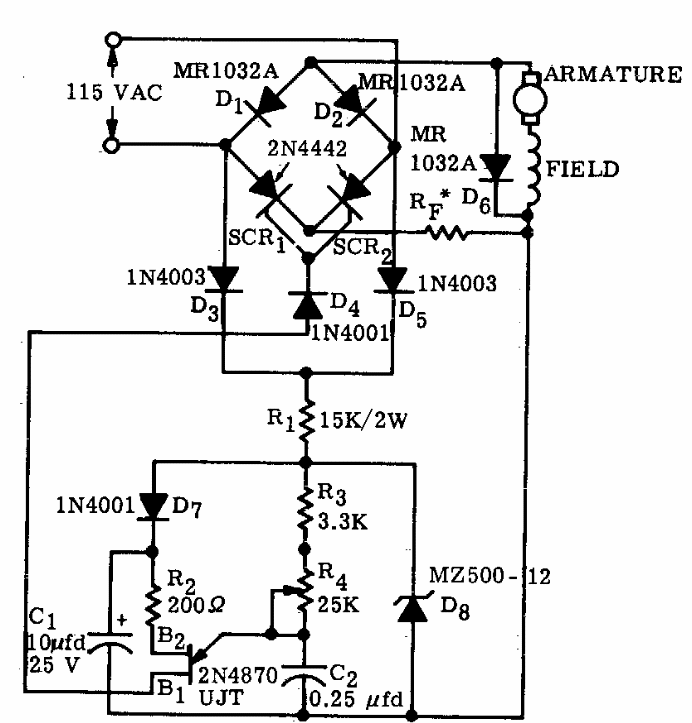
Found in documentation from the 70s, this circuit makes use of SCRs of the time. Modern equivalent types can be used and must be provided with heat sinks. SCRs and diodes must have currents according to the controlled motor.
Found in documentation from the 70s, this circuit makes use of SCRs of the time. Modern equivalent types can be used and must be provided with heat sinks. SCRs and diodes must have currents according to the controlled motor.