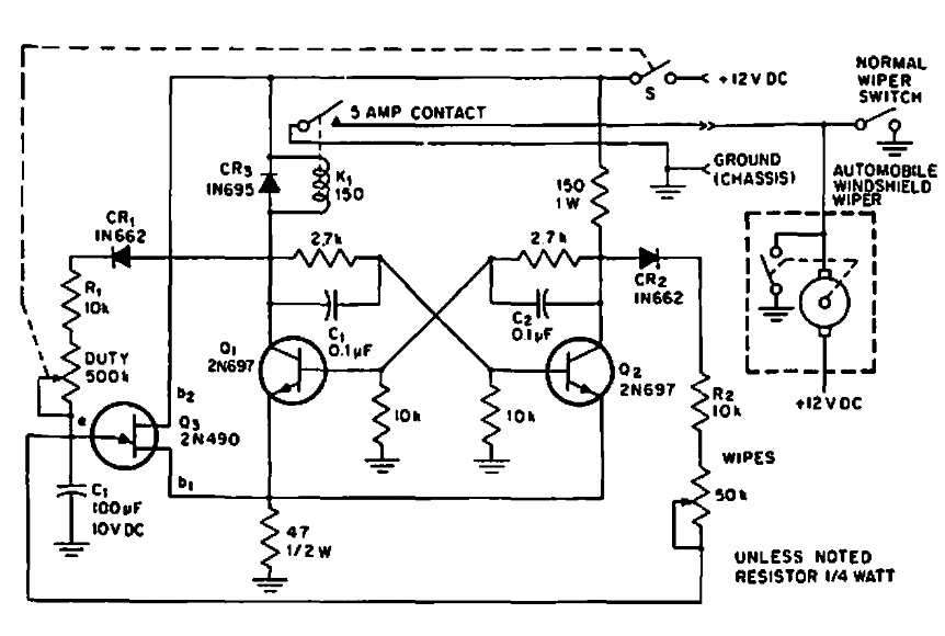
This circuit is from a 1969 EEE magazine. The transistors are from that time, but the circuit can be implemented with modern equivalents, such as 2N2646 for Q3.
This simple circuit is from a Radio Electronics from July 1965. The circuit can be assembled with...
Found in the May 1975 issue of Radio Electronics magazine, this circuit turns on after a certain...
We found this circuit in a 1965 General Electric documentation. The circuit generates synchronized...