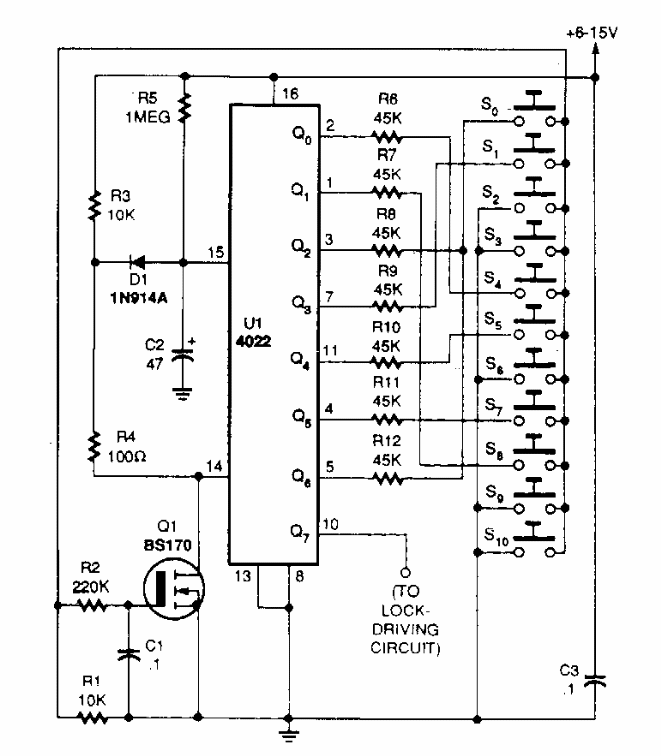
This CMOS circuit was found in a Popular Electronics from the 80's. The circuit consists of a counter that has its output activated when the selected key combination is pressed.
This circuit was taken from the 1960's Mullard Transistor Manual. Information about the coils is...
This bridge circuit is designed for 8-ohm speakers delivering a few watts of power. The circuit is from...
This alarm, from a 1996 magazine, can be fitted with two BC548s in the original configuration...