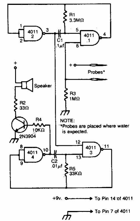
Found in an English publication from the 1980s, this circuit uses components that are still common today. The power supply must be isolated if no batteries are used.

Found in an English publication from the 1980s, this circuit uses components that are still common today. The power supply must be isolated if no batteries are used.
