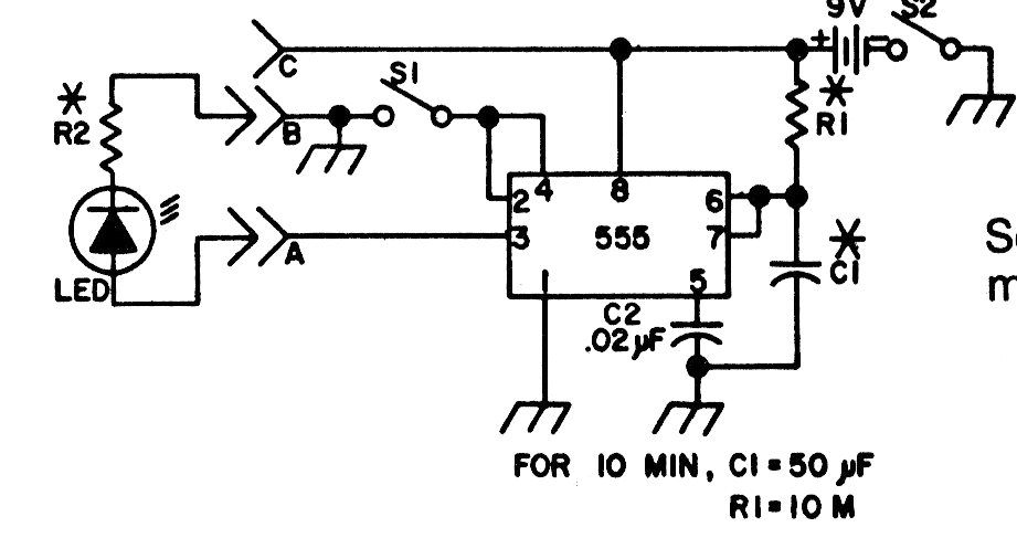
We found this conventional circuit with the 555 in a documentation from the 70s. Several similar or equivalent configurations with the 555 can be found in this section and on this website. This version triggers LEDs but can be changed for other types of loads.




