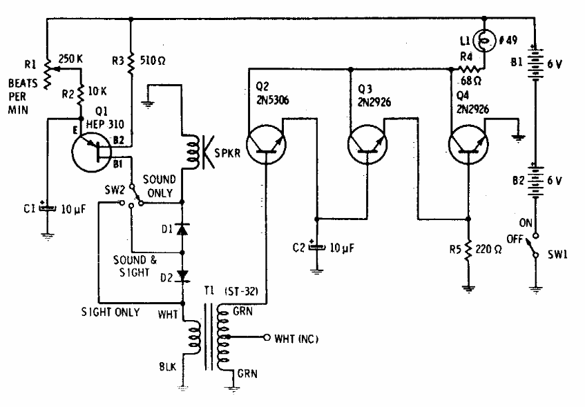
This circuit with its light source was found in American documentation two years 70. Or transformer of the type found in small transistor radios of the time. The transistors are general-purpose.
This timer uses common components today. It activates a relay after intervals that can be adjusted up...
September 2016 - It can be obtained from Mouser Electronics the new ADC AD7779 from Analog Devices with...
Found in Popular Electronics from the 90s, this circuit consists of a timer that turns off the...