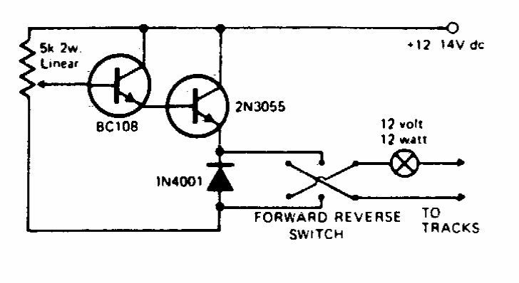
This circuit uses a wire potentiometer, but the current is much more intense in the control thanks to the 2N3055 which must be mounted on a heat sink.
This small power amplifier makes use of an output transformer given its design time. In fact, the...
This circuit is from a 1993 Italian magazine, but it can be easily assembled today. For 110 V,...
This two-way switch or control shows how to control a lamp from two points. This version is from a...