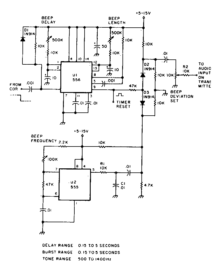
This circuit was found in documentation for radio amateurs of the 1980s. This is the so-called roger-beep, which is the beep that is transmitted when the talk-listen function is changed.
Found in a Maxim publication from the 90s, this circuit generates signals from 10 to 25 kHz with a...
We found this oscillator in a documentation for radio amateurs from the 1970s. The circuit can use...
This circuit is a manual of 1972 RCA power transistors. The critical components of the project are...