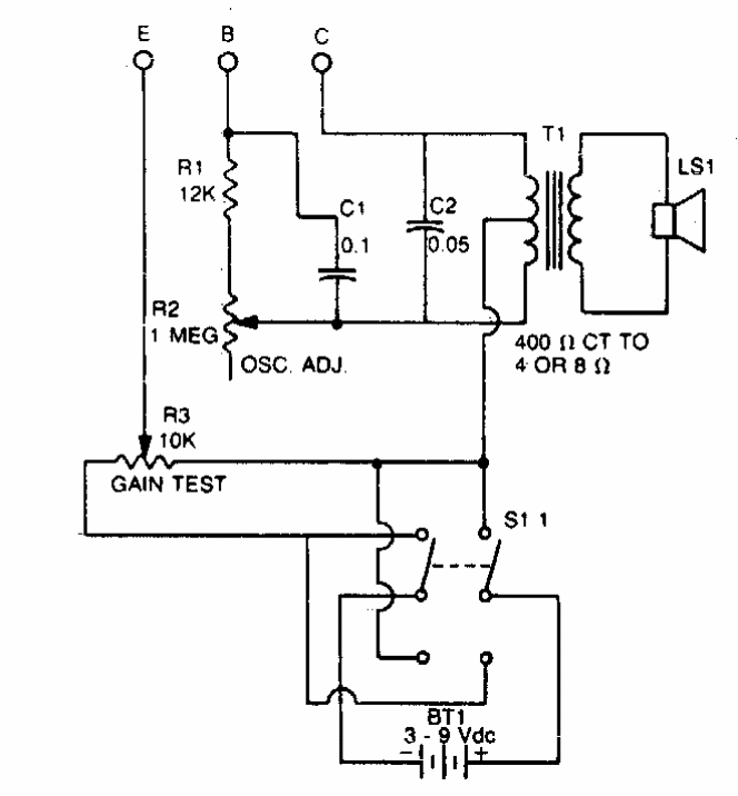
With this circuit it is possible to select transistors and their compliant test. Or circuit consists of an oscillator. Or transformer of the type found in old transistor radios.
This circuit was found in an American documentation from 1969. It serves to trigger circuits by...
This input stage has unit gain but a high input impedance and low output impedance. The circuit is...
The circuit presented was found in the Linear Applications Handbook of the National Semiconductor of 1994....