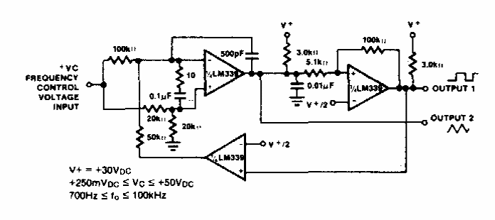
This circuit can generate signals up to 100 kHz. Found in documentation from the 1980s, it makes use of operatives of the time.
Found in a Maxim publication from the 90s, this circuit generates signals from 10 to 25 kHz with a...
We found this oscillator in a documentation for radio amateurs from the 1970s. The circuit can use...
This circuit is a manual of 1972 RCA power transistors. The critical components of the project are...