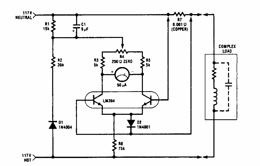
This circuit was obtained from a National Semiconductor manual from the 1990s. The circuit employs a pair of matched transistors, and the indicator is analog.
This short-range experimental transmitter emits a signal with many harmonics, without modulation. It can...
This circuit is from a 1977 publication and is characterized by an adjustment of the polarization point of...
This VFO was found in a 1980s documentation. The central frequency is given by the crystal and the...