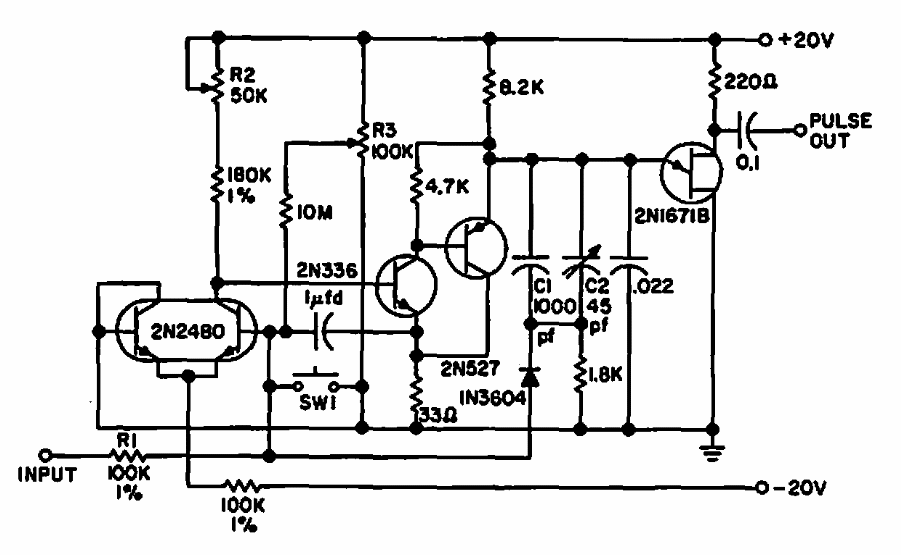
This circuit was obtained from a General Electric publication from the 1960s. The transistors are from the time and the circuit produces a 1 kHz signal with 1 V input.
In this circuit the CA3140, an operational amplifier, is used as a comparator with the zener diode...
This linear LED scale circuit was found in the February 1992 issue of Radio Electronics magazine. Note...
This amplifier stage without an output transformer was found in Radio Electronics magazine from...