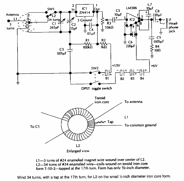
This receiver for frequencies up to 18 MHz was found in American documentation from the 1990s. Data for coil winding is aggregated.
This sophisticated inverter circuit of excellent performance was found in a French publication in 1995. The...
The integrated circuit used in this application is the Texas Instruments LMV358A, a low voltage...
This circuit is from 80s documentation, using still common CMOS components. The display is 7...