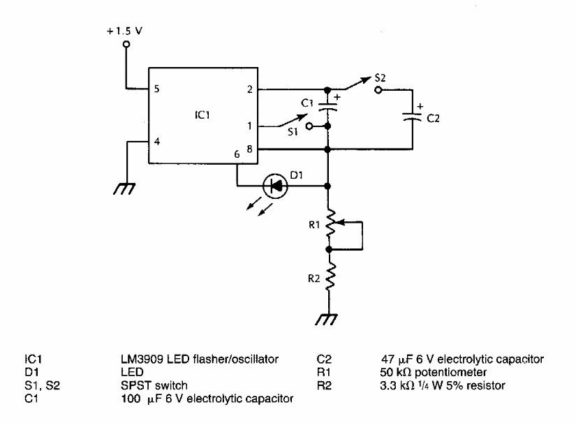
Based on the well-known LM3909, this LED pulser circuit was found in American documentation from the 90's. The power supply is only 1.5 V.
This sophisticated inverter circuit of excellent performance was found in a French publication in 1995. The...
The integrated circuit used in this application is the Texas Instruments LMV358A, a low voltage...
This circuit is from 80s documentation, using still common CMOS components. The display is 7...